Bytbil är en del av Vend. Vend är ansvarig för dina data på denna webbplats.

Läs mer här

Redaktionen tipsar

Teslas nya uppfinning: bättre vindrutetorkare

Sökt patent - se ritningarna på hur nya torkarbladet ska fungera

Vindrutetorkarna har fungerat likadant på alla bilar i många år. Men nu har Tesla lämnat in en patentansökan för att skydda sin nya uppfinning: en elektromagnetisk vindrutetorkare.
Det ser snyggare ut – och sparar batteri.

Elon Musk och Tesla har redan revolutionerat bilbranschen med elbilen. Men det finns fortfarande områden på bilarna som kan förbättras, menar företaget.
Och ingen detalj är för liten för Teslas ingenjörer, för nu har man tagit fram en elektromagnetisk vindrutetorkare.
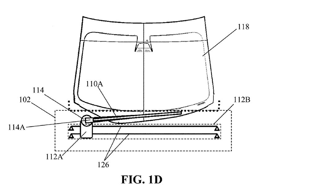
Det amerikanska patentverket tog emot Teslas ansökan den 5 september med rubriken ”Elektromagnetiskt torkarsystem för ett fordons vindruta”.
Ett blad – istället för dagens två – är både snyggare och effektivare, enligt Teslas ansökan, även om ritningarna som bifogats visar att två torkarblad kan användas.
Du ser ritningarna i bildspelet ovanför artikeln.

Teknologin är ungefär samma som används för Maglevtåg – snabbtågen som finns i bland annat Japan och Kina. Magnetiska krafter används för att både bära upp tåget och som framdrivningsmetod. Skillnaden är att Teslas uppfinning är betydligt mindre.

Ritningarna visar grundprincipen: Torkararmen är sammankopplad med två rälsspår och ett ”block” som består av magneter omges av elektromagnetiska spolar. När ström passerar genom magneter och spolar rör sig blocket längs med vindrutan och tar med sig torkararmen och bladet.
Det här systemet drar mindre batteri och ökar räckvidden ytterligare för elbilar, dock redvisar Tesla än så länge inga exakta siffror.
Däremot nämner företaget att traditionella vindrutetorkare skapar stor friktion och att den här uppfinningen har mycket mindre friktion och att den dessutom är bättre för framtidens autonoma bilar.
Dålig sikt i regn eller snö kan ge problem för autopiloten som behöver förlita sig på att kamerorna uppfattar allt som händer på vägen.

Elon Musk har dessutom varit okänd för att blanda sig i detaljer under bilarnas utveckling, så man kan ana att vindrutetorkare har varit en hjärtefråga för honom.
Musk höll på att driva sina ingenjörer till vansinne i början av Tesla-åren när han krävde att bilens handtag skulle vara integrerade i bilens kaross – och inte ha de traditionella handtagen som ”gammel-bilarna” dragits med i så många år.
Det gick åt många miljoner dollar och utvecklingstid, men Musk fick som han ville. Nu ser han ut att få nya vindrutetorkare också.

Redaktören
redaktoren@bytbil.com

Relaterade artiklar

Scrolla till toppen av sidan
Till Bytbil.com